工業鹽水流量計在聚乙烯醇生產各工段的的應用狀況
點擊次數:3300 發布時間:2021-09-06 07:28:40
聚乙烯醇(PVA)是一種重要化學助劑,其主要用于紡織行業經紗漿料、織物整理劑、維尼綸纖維原料;建筑裝潢行業107膠、內外墻涂料、粘合劑;化工行業用作聚合乳化劑、分散劑及聚乙烯醇縮甲醛、縮乙醛、縮丁醛樹脂;造紙行業用作紙品粘合劑;農業方面用于土壤改良劑、農藥粘附增效劑和聚乙烯醇薄膜;還可用于日用化妝品及高頻淬火劑等方面。隨著工控自動化水平的不斷提高,在聚乙烯醇(PVA)的實際生產過程中,參與生產過程的各種物料必須按一定的量或比例投入,企業為了降低成本并節能降耗,對相應工業鹽水流量計測量精度的要求也越來越高。
流量計有很多種類型,從傳統的孔板流量計、渦輪流量計直到工業鹽水流量計、超聲波流量計等在石化行業中的應用有著廣泛的應用。在此,筆者將介紹工業鹽水流量計在內蒙古雙欣環保材料股份有限公司在PVA生產裝置中的實際應用,并總結應用中流量計的幾類故障和解決方法。希望對于從業朋友們有所幫助。
一、 工作原理
工業鹽水流量計是利用法拉*電磁感應定律設計的流量測量儀表,用于測量導電液體的體積流量。根據法拉*電磁感應定律,當導體切割磁力線運動時,導體內將產生感應電動勢Ex(圖1),方向根據右手定則確定,感應電動勢Ex的大小與磁場的磁感應強度B、傳感器管道的內徑D和流過導電液體的流速V成正比,B、D、V三者相互垂直,即Ex=BDV。

工業鹽水流量計由轉換器和傳感器兩部分組成,兩者用連接線連接。橫河工業鹽水流量計的電極附在流量計管的外部,由這些電極通過氧化鋁陶瓷管壁的電容來獲取液體流動產生的電動勢。工業鹽水流量計的測量管由氧化鋁陶瓷管的電容式電極,一個包括線圈鐵心、接地環和密封外殼的電磁回路組成。為了避免浮地電容的影響,將密封的外殼設計為環繞電容式電極,從而產生密封驅動的電容式電極。
二、產品 特點
工業鹽水流量計的特點如下:工業鹽水流量計的測量導管是一段光滑的直管,內部無可動部件和阻流部件,因此無壓力損失,無機械慣性,反應十分靈敏,測量精度較高;測量范圍寬,量程比寬;可以測量含有固體顆粒的導電液體體積流量,也可以進行正、反向雙向測量;測量過程中不受被測介質的溫度、壓力、密度、粘度和流動狀態的影響,無測量滯后;采用24V(DC)單獨供電,工業鹽水流量計采用高頻勵磁技術,在測量低導電率流體流量時對流量噪聲具有抗干擾性,具有快速響應和消除輸出噪聲的功能,其氧化鋁陶瓷襯里適應各種腐蝕性導電液體流量的測量;目前只有工業鹽水流量計可以測量低至0.01μS/cm的超低電導率液體,還可以測量高濃度漿體的流量和容易附著或堵塞的導電液體的流量,而不必擔心結垢、腐蝕或堵塞問題,降低了維護成本。需要注意的是,在使用中被測液體溫度要求低于120℃,流速要高于0.3m/s,壓力不能超過1.6MPa,而且要求不能含有較多的鐵磁性物質和氣泡。
三、 安裝要求
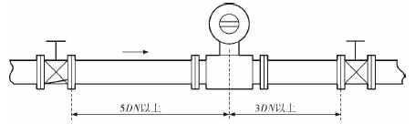
工業鹽水流量計的安裝質量對其測量結果的影響較大,因此在安裝時需要注意幾個問題。*先,工業鹽水流量計直管段的選擇在配管時一定要按照要求進行選擇,一般選擇流量計通徑與工藝管道通徑相同,即可滿足工程需要,而且安裝方便、壓力損失小,流量計直管段上游側的長度不少于5倍工藝管道直徑,下游側的長度不少于3倍工藝管道直徑(圖2)。但在流速太慢而又要求精度較高或需要變徑的應用場合,可選擇通徑小于工藝管道通徑的流量計,以提高測量精度,此時流量計上、下游必須加裝異徑管,且進口異徑管上游側應有長于10倍工藝管道直徑的直管段,下游側應有長于5倍工藝管道直徑的直管段(圖3)。

安裝時必須保證流量計的管徑與工藝管道同心,被測液體的流向與工業鹽水流量計上的箭頭標記方向一致;選擇振動小的場所,避免附近有大電機,以免引起電磁場干擾;選擇能夠滿足必要的維修空間的場所,盡量避免周圍環境有高濃度腐蝕性氣體,還要避免陽光直射;電容式工業鹽水流量計既可以水平安裝也可以垂直安裝,但必須保證工業鹽水流量計的測量管中始終充滿液體,對含有固體顆粒以及污濁的液體建議垂直安裝(流向自下而上),以減少對電極的磨蝕和沾污;管道中應保證液體不產生氣泡,以免影響測量精度;工業鹽水流量計必須接地。
四、 工業鹽水流量計在PVA生產中的應用
4.1 合成工段
在合成工段,分離塔一段循環液和送精餾工段過濾液的測量中使用了工業鹽水流量計。分離塔一段的被測液體中主要含有大量的醋酸、少量的VAC和部分碳粉,被測液體既臟又具有腐蝕性,并伴有強烈的酸味和刺激性氣味,使用該工業鹽水流量計測量維護量很少而且測量精度也比較高。
4.2 精餾工段
在精餾過濾室,過濾液加料計量采用了工業鹽水流量計測量。過濾液的主要成分是醋酸和碳粉,物料具有腐蝕性,刺激性氣味濃。之前采用金屬管轉子流量計進行測量時,管道容易堵塞,經常要拆洗,維護量大。自從改換工業鹽水流量計后,維護量小且測量精度也比較高。
4.3 聚合與醇解工段
在聚合工段,由聚合二釜樹脂送出的液體由工業鹽水流量計測量,聚合一釜加AIBN甲醇溶液的計量也使用該流量計。在醇解工段,醇解機靜態混合器樹脂加料計量也使用了該流量計。
樹脂的成分是聚醋酸乙烯甲醇,是無色粘稠狀液體。偶氮二異丁腈(AIBN)甲醇溶液容易結晶,而且對人體有毒。使用該流量計后,管道再無堵塞發生,而且維護量少,測量精度也較高。
五、 故障與解決方法
5.1 流量信號無顯示
合成工藝操作人員反映,分離塔一段送精餾工段過濾液流量表FT-126流量值無顯示,儀表人員判斷出現此種情況的主要原因可能是工業鹽水流量計斷電或管壁上沾有污垢或測量導管襯里損壞。仔細檢查發現,流量計管道堵塞,無法送出過濾液,疏通管道后測量示值顯示正常。
合成工藝操作人員反映,分離塔一段循環液流量表FT-141無顯示,現場一次表黑屏。實地檢查發現,保險絲熔斷,用備用保險絲替換后,儀表指示正常。
5.2 流量信號波動大
聚合工藝操作人員反映,聚合二釜樹脂送出流量表FT-324流量值上、下波動大。在現場仔細檢查發現,工業鹽水流量計本身無故障,工業鹽水流量計外殼接地線脫落,重新連接后流量計指示正常。
5.3 現場實際值與DCS顯示值不對應
聚合工藝操作人員反映,聚合一釜加AIBN甲醇溶液現場流量表FT-311顯示與中控DCS顯示不對應。在工藝人員的配合下,將流量表的前、后截止閥關死,并打開旁路截止閥,保證工藝正常運行。在保證工業鹽水流量計所測管道充滿液體并靜止的情況下,儀表人員重新調校該表的零點后,關閉旁路截止閥并打開流量計前、后截止閥,發現現場實際值與DCS顯示值還是不對應。經過仔細檢查發現,工業鹽水流量計的量程設置與DCS上的量程不對應,重新設定后,現場實際值與DCS顯示值一致。
5.4 零點不穩定
大檢修停車后,儀表人員在檢查合成工段FT-126時發現工業鹽水流量計的零點變動。檢查儀表外觀和內部參數,沒有發現異常,拆下工業鹽水流量計后,發現流量計內壁附著醋酸晶體,除去電極上的醋酸晶體后重新安裝,零點恢復正常。
六、結束語
ADMAGCA電容式工業鹽水流量計作為流量測量儀表的一種,要使其在實際生產中發揮恰當作用,必須在安裝和使用時嚴格按標準進行,才能滿足工藝要求。筆者結合實際經驗,介紹了其安裝注意事項,并總結了該流量計在PVA生產中的故障現象和解決辦法,希望能給同行以借鑒。
工業鹽水流量計在聚乙烯醇生產各工段的的應用狀況
測量鹽水流量計在地下管道中的安裝
流場、磁場及介質電導率對測量鹽水流量計測量的影響分析
防腐鹽水流量表校準設備的重要性
除鹽水流量表的產品特點及應用范圍與精準測量解析
除鹽水流量表在特殊環境中需要考慮的一些因素
鹽水流量計在自來水供水企業中的選型與應用
關于鹽水溶液流量計的誤差產生原因及調整方法
冷凍鹽水管道流量計在磷銨裝置中的安裝與故障處理
如何通過測量電極接觸電阻分析脫鹽水流量計故障及解決方法
除鹽水流量計的測量電極的組成方式有幾種類型
鹽水流量計測量管的襯里和電極加工工藝方法討論
雷擊對除鹽水電磁流量表的危害及如何有效應對雷擊的措施
冷凍鹽水流量計勵磁系統硬件研制
關于幾類測鹽水流量用流量計的特點及選型的分析
環形電源工業鹽水流量計*大限度地提高了能量流量
測量除鹽水流量用流量計的抗干擾措施及其效果分析
正確理解測鹽水流量計的誤差產生原因及調整方法
使用耐腐蝕鹽水流量計計量鋼廠工業水的應用分析
工業除鹽水流量計,測鹽水流量用什么流量計
工業除鹽水流量計,測鹽水流量計
工業除鹽水流量計,高精度鹽水流量計
除鹽水流量計
電廠化水除鹽水流量計
電廠除鹽水流量計選型
除鹽水流量計選型,電廠化水除鹽水流量計
除鹽水流量計,脫鹽水流量計
耐腐蝕鹽水流量計的調校方法與安全措施
鹽水計量表在污水流量測量中有什么優勢
除鹽水流量計等流量儀表與管道連接有哪幾種方式
流量計有很多種類型,從傳統的孔板流量計、渦輪流量計直到工業鹽水流量計、超聲波流量計等在石化行業中的應用有著廣泛的應用。在此,筆者將介紹工業鹽水流量計在內蒙古雙欣環保材料股份有限公司在PVA生產裝置中的實際應用,并總結應用中流量計的幾類故障和解決方法。希望對于從業朋友們有所幫助。
一、 工作原理
工業鹽水流量計是利用法拉*電磁感應定律設計的流量測量儀表,用于測量導電液體的體積流量。根據法拉*電磁感應定律,當導體切割磁力線運動時,導體內將產生感應電動勢Ex(圖1),方向根據右手定則確定,感應電動勢Ex的大小與磁場的磁感應強度B、傳感器管道的內徑D和流過導電液體的流速V成正比,B、D、V三者相互垂直,即Ex=BDV。

工業鹽水流量計由轉換器和傳感器兩部分組成,兩者用連接線連接。橫河工業鹽水流量計的電極附在流量計管的外部,由這些電極通過氧化鋁陶瓷管壁的電容來獲取液體流動產生的電動勢。工業鹽水流量計的測量管由氧化鋁陶瓷管的電容式電極,一個包括線圈鐵心、接地環和密封外殼的電磁回路組成。為了避免浮地電容的影響,將密封的外殼設計為環繞電容式電極,從而產生密封驅動的電容式電極。
二、產品 特點
工業鹽水流量計的特點如下:工業鹽水流量計的測量導管是一段光滑的直管,內部無可動部件和阻流部件,因此無壓力損失,無機械慣性,反應十分靈敏,測量精度較高;測量范圍寬,量程比寬;可以測量含有固體顆粒的導電液體體積流量,也可以進行正、反向雙向測量;測量過程中不受被測介質的溫度、壓力、密度、粘度和流動狀態的影響,無測量滯后;采用24V(DC)單獨供電,工業鹽水流量計采用高頻勵磁技術,在測量低導電率流體流量時對流量噪聲具有抗干擾性,具有快速響應和消除輸出噪聲的功能,其氧化鋁陶瓷襯里適應各種腐蝕性導電液體流量的測量;目前只有工業鹽水流量計可以測量低至0.01μS/cm的超低電導率液體,還可以測量高濃度漿體的流量和容易附著或堵塞的導電液體的流量,而不必擔心結垢、腐蝕或堵塞問題,降低了維護成本。需要注意的是,在使用中被測液體溫度要求低于120℃,流速要高于0.3m/s,壓力不能超過1.6MPa,而且要求不能含有較多的鐵磁性物質和氣泡。
三、 安裝要求
工業鹽水流量計的安裝質量對其測量結果的影響較大,因此在安裝時需要注意幾個問題。*先,工業鹽水流量計直管段的選擇在配管時一定要按照要求進行選擇,一般選擇流量計通徑與工藝管道通徑相同,即可滿足工程需要,而且安裝方便、壓力損失小,流量計直管段上游側的長度不少于5倍工藝管道直徑,下游側的長度不少于3倍工藝管道直徑(圖2)。但在流速太慢而又要求精度較高或需要變徑的應用場合,可選擇通徑小于工藝管道通徑的流量計,以提高測量精度,此時流量計上、下游必須加裝異徑管,且進口異徑管上游側應有長于10倍工藝管道直徑的直管段,下游側應有長于5倍工藝管道直徑的直管段(圖3)。

安裝時必須保證流量計的管徑與工藝管道同心,被測液體的流向與工業鹽水流量計上的箭頭標記方向一致;選擇振動小的場所,避免附近有大電機,以免引起電磁場干擾;選擇能夠滿足必要的維修空間的場所,盡量避免周圍環境有高濃度腐蝕性氣體,還要避免陽光直射;電容式工業鹽水流量計既可以水平安裝也可以垂直安裝,但必須保證工業鹽水流量計的測量管中始終充滿液體,對含有固體顆粒以及污濁的液體建議垂直安裝(流向自下而上),以減少對電極的磨蝕和沾污;管道中應保證液體不產生氣泡,以免影響測量精度;工業鹽水流量計必須接地。
四、 工業鹽水流量計在PVA生產中的應用
4.1 合成工段
在合成工段,分離塔一段循環液和送精餾工段過濾液的測量中使用了工業鹽水流量計。分離塔一段的被測液體中主要含有大量的醋酸、少量的VAC和部分碳粉,被測液體既臟又具有腐蝕性,并伴有強烈的酸味和刺激性氣味,使用該工業鹽水流量計測量維護量很少而且測量精度也比較高。
4.2 精餾工段
在精餾過濾室,過濾液加料計量采用了工業鹽水流量計測量。過濾液的主要成分是醋酸和碳粉,物料具有腐蝕性,刺激性氣味濃。之前采用金屬管轉子流量計進行測量時,管道容易堵塞,經常要拆洗,維護量大。自從改換工業鹽水流量計后,維護量小且測量精度也比較高。
4.3 聚合與醇解工段
在聚合工段,由聚合二釜樹脂送出的液體由工業鹽水流量計測量,聚合一釜加AIBN甲醇溶液的計量也使用該流量計。在醇解工段,醇解機靜態混合器樹脂加料計量也使用了該流量計。
樹脂的成分是聚醋酸乙烯甲醇,是無色粘稠狀液體。偶氮二異丁腈(AIBN)甲醇溶液容易結晶,而且對人體有毒。使用該流量計后,管道再無堵塞發生,而且維護量少,測量精度也較高。
五、 故障與解決方法
5.1 流量信號無顯示
合成工藝操作人員反映,分離塔一段送精餾工段過濾液流量表FT-126流量值無顯示,儀表人員判斷出現此種情況的主要原因可能是工業鹽水流量計斷電或管壁上沾有污垢或測量導管襯里損壞。仔細檢查發現,流量計管道堵塞,無法送出過濾液,疏通管道后測量示值顯示正常。
合成工藝操作人員反映,分離塔一段循環液流量表FT-141無顯示,現場一次表黑屏。實地檢查發現,保險絲熔斷,用備用保險絲替換后,儀表指示正常。
5.2 流量信號波動大
聚合工藝操作人員反映,聚合二釜樹脂送出流量表FT-324流量值上、下波動大。在現場仔細檢查發現,工業鹽水流量計本身無故障,工業鹽水流量計外殼接地線脫落,重新連接后流量計指示正常。
5.3 現場實際值與DCS顯示值不對應
聚合工藝操作人員反映,聚合一釜加AIBN甲醇溶液現場流量表FT-311顯示與中控DCS顯示不對應。在工藝人員的配合下,將流量表的前、后截止閥關死,并打開旁路截止閥,保證工藝正常運行。在保證工業鹽水流量計所測管道充滿液體并靜止的情況下,儀表人員重新調校該表的零點后,關閉旁路截止閥并打開流量計前、后截止閥,發現現場實際值與DCS顯示值還是不對應。經過仔細檢查發現,工業鹽水流量計的量程設置與DCS上的量程不對應,重新設定后,現場實際值與DCS顯示值一致。
5.4 零點不穩定
大檢修停車后,儀表人員在檢查合成工段FT-126時發現工業鹽水流量計的零點變動。檢查儀表外觀和內部參數,沒有發現異常,拆下工業鹽水流量計后,發現流量計內壁附著醋酸晶體,除去電極上的醋酸晶體后重新安裝,零點恢復正常。
六、結束語
ADMAGCA電容式工業鹽水流量計作為流量測量儀表的一種,要使其在實際生產中發揮恰當作用,必須在安裝和使用時嚴格按標準進行,才能滿足工藝要求。筆者結合實際經驗,介紹了其安裝注意事項,并總結了該流量計在PVA生產中的故障現象和解決辦法,希望能給同行以借鑒。
下一篇:測量鹽水流量計在地下管道中的安裝


