電容式投入式液位計工作原理
點擊次數:2857 發布時間:2021-07-21 01:59:28

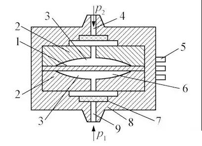
1—金屬膜片(動極);2—凹玻璃圓盤;3—金屬鍍層(定極);4—低壓側導壓口;5—輸出端子;6—空腔;7—過濾器;8—殼體;9—高壓側導壓口
(1)當P2=P1時, ΔP=0;膜片處于中間位置,與兩個定極板距離相等.
C2=C1
(2)當有差壓作用時,感壓膜片產生形變。
P2>P1時, C2< C1;
P2 C1;
測量膜片產生位移轉變為電容極板上的差動電容變化,由電子線路把差動電容轉換成4-20mA(DC)的二線制電流信號.
下一篇:纜式投入式液位計安裝規范


